Versuchsreihe zu den Kernphänomenen der Wechselstromlehre
| Versuchsreihe zu den Kernphänomenen der Wechselstromlehre | |
| Kurzbeschreibung | |
|---|---|
| In dieser Versuchsreihe sollen die Kernphänomene der Wechselstromlehre auf einfache und induktive Weise vermittelt werden. | |
| Kategorien | |
| Elektrizitätslehre | |
| Einordnung in den Lehrplan | |
| Geeignet für: | optionales Wahlpflichtthema in SEK I und SEK II |
| Basiskonzept: | System, Wechselwirkung, Energie |
| Sonstiges | |
| Durchführungsform | Demoexperiment, Schülerexperiment |
| Anzahl Experimente in dieser Unterkategorie | 4 (empfohlener Zeitaufwand 2 Doppelstunden) |
| Anspruch des Aufbaus | leicht bis mittel |
| Informationen | |
| Name: | Alexander Pankratov |
| Kontakt: | @ |
| Uni: | Humboldt-Universität zu Berlin |
| Betreuer*in: | Tobias Ludwig |
Diese Versuchsreihe beschäftigt sich mit den Kernphänomenen der Wechselstromlehre: Impedanz und Phasenverschiebung. Die Wechselstromlehre stellt ein wichtiges Bindeglied zwischen der Gleichstromlehre und der Hertz'schen Dipole (elektromagnetische Wellen). In dieser Versuchsreihe haben daher Spule und Kondensator eine zentrale Rolle, sodass im Fokus immer die Erklärung des physikalischen Verhaltens dieser sog. passiven Bauelemente steht. In den Abschnitten der Exkurse soll dem Leser erweiterte Inhalte skizziert und überblickshaft dargestellt werden, die z.B in Schülervorträgen, Stationsarbeiten oder einfach nur rein informativ angeboten werden können. Damit kann das kontextuelle Wissen weiter aufgebaut oder zur Differenzierung genutzt werden.
Inhaltsverzeichnis
- 1 Didaktischer Teil
- 2 1.Versuch: Spule und Kondensator im einfachen Wechselstromkreis (Demonstrationsversuch mit Schüleranteil)
- 3 2.Versuch: Vom Blindwiderstand zur Impedanz (Demonstrationsversuch/Schülerversuch)
- 4 3.Versuch: Phasenverschiebung im Wechselstromkreis (Demonstrationsversuch)
- 5 Literatur
- 6 Siehe auch
Didaktischer Teil
Das Themenfeld der Wechselstromlehre hat mit der Zeit im Rahmenlehrplan für Berliner Schulen deutlich an Bedeutung verloren, und wird seither lediglich als Wahlpflichtoption vorgeschlagen. Von Lehrern wird das Thema oft gemieden, da es oft als zu technisch angesehen wird oder weil es nicht im eigenen Interessenfeld liegt. Der Wechselstromlehre werden daher eher populäre Themen wie Astrophysik, Elementarteilchenphysik oder Relativitätstheorie vorgezogen. Mit einer didaktischen Analyse nach KLAFKI soll vom Bildungswert der Wechselstromlehre überzeugt und ermutigt werden, das Thema im Unterricht nicht mehr zu meiden. In der didaktischen Analyse werden die Grundfragen der Gegenwartsbedeutung, der Zukunftsbedeutung und der Zugänglichkeit diskutiert.
Gegenwartsbedeutung:
Schüler haben im Alltag einen großen Kontakt zu Geräten, die mit Wechselstrom funktionieren. Sei es im Haushalt beim Fön, beim Induktionsherd, bei der Waschmaschine, oder auch bei der Steckdose. Im Zeitalter der regenerativen Energien spielt dazu die Erzeugung von Wechselstrom durch die Naturkräfte Wasser und Luft und der Transport von Wechselstrom über kilometerlangen Leitungen mit Hilfe von Transformatoren bis in unsere Häuser eine außerordentliche Rolle für Alltag und Wirtschaft. Auch das mittlerweile nicht wegzudenkende Handy hat mehr mit Wechselstrom zu tun als man vielleicht denkt. Wechselstrom stellt hierbei die Grundlage für alle wichtigen ablaufenden Prozesse zwecks Informationsübertragung her. Schüler haben demnach schon etwas von Wechselstrom gehört und können ihn bereits mit Sachverhalten aus dem Alltag verknüpfen.
Zugänglichkeit:
Man kann Wechselstrom gewissermaßen als eine elektrische harmonische Schwingung von Ladungsträgern ansehen. Damit wäre Wechselstrom ein direktes Analogon zu den mechanischen Schwingungen, also ähnlich mit Wasserwellen, Schallwellen oder dem Schwingen eines Pendels. Grundbegriffe wie Amplitude oder Schwingungsdauer oder die graphische Darstellung von Sinus- und Cosinusfunktionen wären damit schon bekannt. Bauelemente wie Spule und Kondensator, sowie deren Eigenschaften, sind im Kontext zum Gleichstrom schon vorher bekannt, sodass auf die bereits bestehenden Konzepte aufgebaut werden kann, da Spule und Kondensator ihre Funktionen im Wechselstromkreis nicht grundlegend ändern.
Zukunftsbedeutung:
Die Wechselstromlehre ist im Physikunterricht die Grundlage für weitere aufbauende Themen, wie Elektromagnetismus und Elektromagnetische Wellen, da ihre Existenzgrundlage u.a. auf Wechselströmen beruht. Ohne Kenntnis über die Funktionsweisen von Spule und Kondensator als Wechselstrombauelement, fehlt Verständnis um z.B. Schwingkreise einzuführen zu können. Denn erst durch Schwingkreise (bzw. Hertz'scher Dipol) kann erschlossen und nachvollzogen werden, warum man mit einem Freund aus Australien, der 15.000 Kilometer von uns entfernt ist, in Echtzeit telefonieren kann oder weshalb man keinen Empfang hat, sobald große Menschenmassen sich einfinden. Die Wechselstromlehre schlägt also eine Brücke zwischen der Elektrotechnik und der Generierung von Elektromagnetischer Wellen. Für mögliche Berufswünsche als z.B. Elektriker oder Elektrotechniker wäre die Bedeutung von Wechselstrom damit ubiquitär.
1.Versuch: Spule und Kondensator im einfachen Wechselstromkreis (Demonstrationsversuch mit Schüleranteil)
Ziel dieses qualitativen Versuches ist es sich das Verhalten von Spulen und Kondensatoren im einfachen Wechselstromkreis mit Hilfe von Beobachtungen zu erschließen. Darunter sollten folgende fachlichen Inhalte erarbeitet werden:
- Einführung der Kenngröße Frequenz
- Wechselstrom hat frequenzabhängige magnetische Wechselfelder in einer Spule bzw. elektrische Wechselfelder im Kondensator zur Folge
- Im Wechselstromkreis ist der Kondensator ein leitfähiges Element
Aufbau
Folgende Materialien werden für die Durchführung des Versuches benötigt:
- Leybold 011804.03 - Leistungsfunktionsgenerator
- PHYWE 13810.01 - 2 Analog-Demo-Multimeter
- PHYWE 06515.01 - Spule-35H-1200N mit eisernen I-Kern
- PHYWE 39113.03 - Kondensator-470µF
- PHYWE 07313.88 - Experimentierkabel
- PHYWE 06315.00 - Magnetnadel 80mm
- PHYWE 06316.00 - Nadelfuß
- PHYSE 06319.03 - 5 Magnetscheiben 25mm
- freiwillige Schüler
So könnte der Aufbau zu Demonstrationszwecken aussehen:
- Achtung: In diesem Bild ist eine andere Spannungquelle zu sehen! Das Bild soll nur eine Art Vorschlag zur Positionierung und Visualisierung dienen.
Durchführung
- Am Aufbau mit der Spule
Die Spule wird in Reihe zum Funktionsgenerator geschalten (siehe Abb.1 Schaltplan). Der Generator wird auf eine Quellspannung von 7 V und auf eine Frequenz von 0,5 Hz eingestellt. In die Spule wird nun der ferromagnetische I-Kern eingeführt um den magnetischen Kraftfluss zu bündeln. Die Magnetnagel wird auf den Nadelfuß gesetzt und anschließend in die Nähe eines der magnetischen Pole der Spule gebracht. Die Magnetnadel sollte sich nun periodisch ausrichten. Die Frequenz kann man bis auf max. 1,5 Hz variiert werden. Ab ca. 2 Hz ist die Nadel zu träge zum Ausrichten im Magnetfeld der Spule.
Mit Schüleranteil: Zusätzlich kann man auch 5 Magnetscheiben zu einem Stab verbinden (oder gern auch einen Stabmagneten benutzen) und den Stab recht nah an ein Ende des Spulenkerns bringen. Die Freuqenz darf von 0,5 Hz bis zu 5 Hz variiert werden. Man sollte darauf achten, dass der Spulenkern und der Magnetstab sich nicht berühren. Sollte das doch passieren, sollte die Quellspannung abgestellt werden, da je nach Quellspannung, Spule und Material des Eisenkerns kann die Anziehung zwischen Magnetstab und Kern so groß sein, dass man beide ohne großen Kraftaufwand nicht trennen kann! Schüler können gern nach Vorne treten und diesen Teil des Versuches durchführen.
- Am Aufbau mit dem Kondensator
Der Kondensator wird in Reihe zum Funktionsgenerator geschalten, aber auch in Reihe zwischen den zwei Demomesszeigerinstrumenten geschalten (siehe Abb.2 Schaltplan). Die Demomesszeigerinstrumente werden auf eine Gleichstrommessung im symmetrischen Messbereich 1mA-0mA-1mA eingestellt. Der Generator wird auf eine Quellspannung von ca. 1 V und auf eine Frequenz von 0,5 Hz eingestellt. Die Freuqenz kann bis auf max. 1Hz variiert werden. Je nach Empfindlichkeit des Messgerätes kann noch ein Vorwiderstand in Reihe eingebaut werden, damit die Mesströme nicht die Skala sprengen.
Beobachtungen
- Am Aufbau mit der Spule
Sobald die Kompassnadel in die Nähe der Pole des Magnetfeldes der Spule gebracht wird, richtet sich diese entsprechend aus. Nach kurzer Zeit richtet die Kompassnadel sich erneut aus, dieses Mal genau umgekehrt. Dieser Vorgang wiederholt sich periodisch. Wird die Hertzzahl erhöht, so wechselt die Kompassnadel ihre Ausrichtung schneller. Ab einer Herzzahl von ca. 2 Hz, wird die Nadel zu träge - sie dreht sich nur im Kreis.
Wenn der Magnetstab in die Nähe einer Endseite des Spulenkerns gebracht wird, kann man spüren wie der Spulenkern und der Magnetstab sich anziehen, und nach einem kurzen Moment wieder anziehen. Wird die Hertzzahl erhöht so kann man spüren, dass sich beide Elemente öfter anziehen und abstoßen. Ab einer hohen Hertzzahl von 5 Hz wird die Hin- und Herbewegung des Magnetstabes so schnell, dass dieser irgendwann aus der Hand zum Eisenkern rutscht.
- Am Aufbau mit dem Kondensator
Beide Zeigerinstrumente schlagen aus der Nullstellung maximal nach rechts aus, und nähern sich nach einem kurzen Moment wieder der Nullstellung an, ab welcher die Zeiger maximal nach links ausschalgen. Die Zeiger schwingen zwischen dem linken und rechten Skalenendpunkt hin- und her. Wenn die Hertzzahl erhöht wird, schwingt der Messzeiger schneller.
Auswertung
- Versuch mit der Spule
Da Kompassnadeln sich immer entgegen eines magnetischen Pols ausrichten, geht aus den Beobachtungen hervor, dass aufgrund des periodischen Wechsels der Ausrichtung der Kompassnadel das Magnetfeld der Spule seine Polrichtung auch periodisch ändert. Diese periodische Umpolung hat ihre Ursache darin, dass der Strom, der durch die Spule fließt, ebenfalls seine Richtung periodisch ändern muss, um die Pole des Magnetfelds der Spule umzukehren. Diese Umpolungsvorgänge sind frequenzabhängig, also davon wie oft der Strom pro Zeiteinheit seine Richtung ändert. Wechselstrom erzeugt magnetische Wechselfelder in einer Spule.
Die Beobachtung am Magnetstab mit dem Eisenkern kann man auf ähnliche Weise klären. Da sich die Polung des Magnetstabes nicht ändern kann, weist immer der selbe Pol zum Eisenkern der Spule. Da sich Kern und Stab abwechselnd anziehen und abstoßen, muss sich also die Polung des Magnetfelds der Spule auch in diesem Fall ändern. Grund dafür ist der Strom der durch die Spule fließt und stetig seine Richtung ändert. Damit kehrt sich der Kraftfluss des Spulenkern periodisch um, und zieht den Magnetstab an oder ab.
- Versuch mit dem Kondensator
Das überhaupt etwas beobachtet werden konnte, ist sehr interessant, da der Kondensator zuvor als nicht leitfähiges Bauelement eingeführt wurde. In dem Falle fließt aber ein Strom. Die Zeigerinstrumente geben Aufschluss darüber, ob Strom fließt. Da beide Messgeräte erst maximal nach rechts ausschlagen, bedeutet das, dass Ladungen auf den Kondensator fließen. Während beim maximalen Ausschlag nach links die Ladungen vom Kondensator abfließen. Es ist bereits bekannt, dass sich ein elektrisches Feld zwischen den Kondensatorplatten aufbaut sobald sich Ladungen auf dem Kondensator befinden. Demzufolge baut sich das elektrische Feld ab, wenn Ladungen vom Kondensator abfließen. Die beobachteten Prozesse finden ebenfalls periodisch statt. Diese Umpolungsvorgänge sind frequenzabhängig, also davon wie oft der Strom pro Zeiteinheit seine Richtung ändert. Wechselstrom erzeugt elektrische Wechselfelder im Kondensator.
- Frequenz
Basierend auf dem Versuch lässt sich die Frequenz wie folgt charakterisieren:
Die Frequenz beschreibt die Häufigkeit bzw. die Regelmäßigkeit, mit der ein periodischer Prozess (wie zum Beispiel der Richtungswechsel von Ladungsträgern, Umpolung des magnetischen Feldes der Spule etc.) in einer bestimmten Zeiteinheit vonstatten läuft. Die Frequenz hat die Einheit
Exkurs: Maxwellkraft (Reluktanzkraft)
Dass der magnetische Kern einer Spule sich nur durch den Kraftfluss bewegt, wird in der Mechatronik oft genutzt. Sollte es einen Luftspalt zwischen Kern und Spulenkörper geben, wirkt die sogenannte Reluktanzkraft. Diese Kraft drängt den magnetischen Kern aus bzw. in die Spule (abhängig von der Richtung des Stromflusses). Diese Kraft entsteht, wenn der Spulenkern unterbrochen ist oder ein weiteres Medium anwesend ist und dadurch der magnetische Kraftflusswiderstand nicht mehr alleine durch den magnetischen Kern bestimmt ist.(nicht zu verwechseln mit dem Widerstand im elektronischen Sinne.). Das System ist bestrebt, dass der magnetische Kraftflusswiderstand minimal wird, und die Induktivität dafür maximal. Diese Reluktanzkraft wird in der Mechatronik bei Gurtsicherheitssystemen oder bei bestimmten Arten von Motoren (Reluktanz-Drehmoment-Motoren, Transversalflussmaschine,...) verwendet.
2.Versuch: Vom Blindwiderstand zur Impedanz (Demonstrationsversuch/Schülerversuch)
Ziel dieses quantitativen Versuches ist es zu Überprüfen, ob das allgemeingültige Ohm'sche Gesetz auch für Kondensatoren und Spulen im Wechselstromkreis gilt. Desweiteren soll durch eine Blindwiderstandsbestimmung einer Spule und eines Kondensators dessen Geometrieparameter (Induktivität und Kapazität) berechnet werden. Folgende fachlichen Inhalte sollten dabei erarbeitet werden:
- Spulen und Kondensatoren verhalten sich im Wechselstromkreis ähnlich wie ein Ohmscher Widerstand
- Der Wechselstromwiderstand ist frequenzabhängig
- Einführung der (komplexen) Größe der Impedanz
Im ersten Teil soll das Phänomen demonstriert werden und im zweiten Teil das Phänomen messbar und quantitativ bewertbar gemacht werden.
Aufbau
Folgende Materialien werden für die Durchführung des Versuches benötigt:
- Leybold 011804.03 - Leistungsfunktionsgenerator
- PeakTech P32092.AA - 2 Digitalmultimeter
- PHYWE 06515.01 - Spule-35H-1200N
- PHYWE 39113.03 - Kondensator-470µF
- PHYWE 07313.88 - Experimentierkabel
- PHYWE 06150.03 - Glühlämpchen E10 1,5 V / 150 mA
- PHYWE 06170.00 - Lampenfassung E10
- grafisches Auswertungsprogramm wie (Excel, Qti-Plot, Origin...)
- oder klassich: Stift und kariertes Papier
So könnte der Aufbau zu Demonstrationszwecken aussehen:
Durchführung
- Erster Teil
Spule und Glühlampe werden in Reihe zu einander geschalten und mit dem Funktionsgenerator verbunden. Bei 50 Hz wird die Spannung so hoch eingestellt, dass die Glühlampe sehr hell leuchtet. Anschließend wird die Frequenz bis 300 Hz variiert, während Spannung/Strom konstant gehalten werden. Die Helligkeit der Glühlampe soll dabei beobachtet werden.
- Zweiter Teil
Die Schaltung aus dem ersten Teil wird um ein Ampheremeter und ein Voltmeter erweitert. Das Voltmeter soll parallel zur Spule die Wicklungsspannung abgreifen und das Ampheremeter in Reihe zur Spule den Spulenstrom messen (vgl. Schaltplan). Nun wird die Frequenz ausgehend von 50 Hz in 50 Hz-Schritten erhöht und die Spannung konstant gehalten. Es sollen anschließend minds. 6 Frequenz-Spannung-Strom Tripel aufgenommen werden. Die Messwerte werden anschließend in einer (U/I)-f-Grafik gegeneinander aufgetragen und ausgewertet. Beim Kondensator muss aus Gründen der Linearisierung eine (I/U)-f-Grafik erstellt werden. Der Quotient aus U/I soll vorher berechnet werden.
Ergebnisse
- Erster Teil (qualitativ)
- Spule: Die Helligkeit der Glühlampe nimmt bei steigenden Hertzzahlen ab. Bei sinkenden Hertzzahlen nimmt die Helligkeit der Glühlampe wieder zu. Ab einer Hertzzahl von 350 Hz erlischt die Glühlampe komplett.
- Kondensator: Die Helligkeit der Glühlampe nimmt bei steigenden Hertzzahlen zu. Bei sinkenden Hertzzahlen nimmt die Helligkeit der Glühlampe wieder ab. Ab einer Hertzzahl von 5 - 10 Hz erlischt die Glühlampe komplett.
- Zweiter Teil (quantitativ)
- Spule:
Folgende Messwerte ergeben sich:
| Kreisfrequenz in [rad/s] | Blindwiderstand XL in [V/A] |
|---|---|
| 318,18 | 124,3 ± 0,4 |
| 627,27 | 235,7 ± 0,6 |
| 1.267,32 | 465,1 ± 1 |
| 1.893,12 | 685,9 ± 1,7 |
| 2.522,7 | 911,5 ± 2,2 |
| 3.152,9 | 1.139,8 ± 2,8 |
Die Frequenz wurde aus Gründen der Einfachheit mit multipliziert um die Kreisfrequenz zu erhalten. Die Kreisfrequenz ist in der Elektrotechnik die üblichere Größe.
- Kondensator:
Folgende Messwerte ergeben sich:
| Kreisfrequenz in [rad/s] | Blindleitwert XC in [A/V] |
|---|---|
| 318,18 | 0,0003 ± 4,710-6 |
| 627,27 | 0,0006 ± 1,510-5 |
| 1.267,32 | 0,0009 ± 2,710-5 |
| 1.893,12 | 0,0012 ± 3,010-5 |
| 2.522,7 | 0,0015 ± 3,510-5 |
| 3.152,9 | 0,0018 ± 3,810-5 |
Die Frequenz wurde aus Gründen der Einfachheit mit multipliziert um die Kreisfrequenz zu erhalten. Die Kreisfrequenz ist in der Elektrotechnik die üblichere Größe.
Messunsicherheiten
Die Messunsicherheiten der digitalen Multimetern sollte vorsichtshalber berücksichtigt und diskutiert werden.
Nach Herstellerangaben beträgt die Messunsicherheit für eine:
- Spannungsmessung ±1,5%+2dgts (gültig im Niedervoltbereich und 10 kHz)
- Strommessung ±2,5%+1dgts (gültig bis 1 Amphere und 10 kHz)
Die Unsicherheit der generierten Frequenz des Funktionsgenerators ist vernachlässigbar klein im Bezug zu den Multimetern.
Auswertung
- Erster Teil (qualitativ)
Wenn man davon ausgeht, dass die Helligkeit der Lampe proportional zum durchfließenden Strom ist, so geht aus den Beobachtungen hervor, dass bei steigenden Frequenzen der Spulenstrom immer geringer wird und bei sinkenden Frequenzen jedoch steigt. Beim Kondensator gilt das Beobachtete genau umgekehrt. Ursache für dieses Verhalten ist die Selbstinduktivität der Spule bzw. die Kapazität des Kondensators. Durch den fließenden Strom wird in der Spule ein Magnetfeld erzeugt, welches sich durch den Richtungswechsel des Spulenstromes auf- und abbaut. Demnach werden aufgrund des Induktionsgesetzes auch jedes Mal Gegenfelder induziert, die dem Magnetfeld nach der Letz'schen Regel entgegenwirken und es abschwächen. Das entspricht in Etwa dem Lade- bzw. Entladevorgang einer Spule, nur das dieser nun periodisch vonstatten läuft. Die induzierten Gegenfelder bremsen die Leitungselektronen. Die Stärke dieser Gegenfelder ist umgekehrt proportional zur Zeitspanne (also proportional zur Frequenz) in der die Umpolung des Stromflusses stattfindet. Eine Spule im Wechselstromkreis verhält sich ähnlich wie ein Ohmscher Widerstand. Ab einer bestimmten hohen Frequenz sperrt die Spule den Stromfluss komplett.
Beim Kondensator gilt eine ähnliche Argumentation. Da der Strom ständig seine Flussrichtung periodisch ändert, können die Kondensatorplatten niemals komplett beladen werden. Ehe Ladungen sich bereits auf den Platten sammeln, polt sich die Richtung des Stromflusses um, und die Ladungen verlassen die Platten wieder. Diese Tatsache konnte gut beobachtet werden, und erklärt warum der Kondensator im Wechselstromkreis ein leitfähiges Bauelement ist. Bei höheren Frequenzen wird die Verweildauer der Ladungen auf den Platten immer kleiner und die Platten sind nicht in der Lage sich komplett zu beladen. Bei tieferen Frequenzen hingegen wird die Verweildauer der Ladungen auf den Platten immer größer und die Platten können sich unter Umständen komplett beladen. Dadurch sind die Ladungen in der Lage sich gegenseitig zu beeinflussen. Sie üben abstoßende elektrische Kräfte aufeinander aus, sodass auf den Kondensatorplatten ein Ladungsstau entsteht und ein Auffließen der Ladungen bremst. Das gleiche gilt für den Prozess der Entladung. Auch hier entsteht ein Entladestau, sodass der Entladeprozess sich zeitlich verzögert. Damit verzögert und verringert sich der Stromfluss. Das entspricht in Etwa dem Lade- bzw. Entladevorgang eines Kondensators, nur das dieser nun periodisch vonstatten läuft. Ein Kondensator im Wechselstromkreis verhält sich ähnlich wie ein Ohmscher Widerstand. Ab einer bestimmten tiefen Frequenz sperrt der Kondensator den Stromfluss komplett.
- Zweiter Teil (quantitativ)
Wenn die Messwerte abgetragen werden erhält man folgende Grafiken:
Die lineare Ausgleichskurve kann per Hand (Methode kleinster Fehlerquadrate und Steigungsdreieck) oder elektronisch über ein Grafikprogramm ausgewertet werden.
Man kann auf beiden Grafiken einen linearen Zusammenhang zwischen dem Blindwiderstand (bzw. Blindleitwert) und der Kreisfrequenz feststellen. Der sog. Blindwiderstand ist direkt proportional zur Frequenz bzw. Kreisfrequenz. Wenn man die Steigung der Ausgleichsgerade mit den Geometrieparametern (Induktivität und Kapazität) der Spule und des Kondensators vergleicht, kann man erkennen, dass sie im Rahmen der Messunsicherheiten identisch sind. Das bedeutet also, dass der Wechselstromwiderstand einer/eines Spule/Kondensators von seiner Induktivität/Kapazität abhängt.
Damit erhält man für den Blindwiderstand für die Spule:
Und für den Kondensator:
Die grafisch modellierten Zusammenhänge stimmen auch mit den Beobachtungen überein. Bei steigenden Frequenzen nimmt der induktive Widerstand der Spule zu während der kapazitive Widerstand des Kondensators abnimmt. Und entsprechend umgekehrt.
Man sollte beachten, dass dieses Modell nur eine Näherung ist und nur für den Fall gilt, dass der ohm'sche Widerstand der Spule/Kondensator vernachlässigbar klein ist im Vergleich zu den induktiven bzw. kapazitiven Widerständen.
- Impedanz
In der Physik gibt es eine Größe, die den ohmschen und induktiven/kapazitiven Widerstand miteinander verbindet. Diese Größe nennt sich Impedanz und hat die Einheit . Die Impedanz bezeichnet den komplexwertigen Wechselstromwiderstand und ist eine Kerngröße der Wechselstromtechnik. Sie ist komplexwertig aufgrund der Frequenzabhängigkeit des induktiven/kapazitiven Anteils in einer Wechselstromschaltung. Der Blindwiderstand ist aufgrund seiner Eigenschaften eine reine imaginäre Größe und kann isoliert gar nicht beobachtet werden, sondern nur in Verbindung mit der Impedanz. Der Betrag der Impedanz nennt sich Scheinwiderstand. Dieser gibt wieder, was für ein Widerstand eine Schaltung besitzt und berücksichtigt dabei alle induktiven und kapazitiven Anteile. Die Namensgebung kommt daher, dass die Leistung, die das induktiv oder kapazitiv belastete Netzwerk bezieht an Spule/Kondensator anders umgesetzt wird als am Ohmschen Widerstand. Die Leistung wird investiert um das Magnetfeld bzw. das Elektrische Feld am jeweiligen Bauelement aufzubauen. Spulen und Kondensatoren sind im Wechselstromkreis Energiespeicher. Deshalb hat es den Schein, dass das Netzwerk mehr Leistung benötigt als die Leistung die ohnehin am Ohmschen Anteil der Schaltung umgesetzt wird.
Der Scheinwiderstand ergibt sich zu:
Exkurs: Frequenzweiche
In der digitalen Tontechnik und Signalübertragung wird es oft ausgenutzt, dass Spulen und Kondensatoren ab einer bestimmten Grenzfrequenz keine Signale mehr durchlassen. Es gibt mehrere Arten dieser Sperrschaltungen: Hochpass (sperrt oder dämpft tiefe Frequenzen), Tiefpass (sperrt oder dämpft hohe Frequenzen) oder den Bandpass (sperrt oder dämpft Frequenzberreiche). Die sog. Frequenzweiche stellt eine Kombination aus mehren Bandpässen dar, und findet Anwendung bei Lautsprechern und Bassanlagen (Subwoofer). Dabei wird das elektronische Signal gefiltert und die tiefen Frequenzen mit einer Verstärkerschaltung modifiziert, sodass das Signal z.B. besonders klangvoll und kräftig am Subwoofer ausgegeben wird. DJs können mit Hilfe von eingebauten Hoch- und Tiefpassfiltern im Mischpult sehr beeindruckende Effekte erzeugen und geeignete Übergänge zwischen dem aktuellen und dem nächsten Track finden, wenn bestimmte Frequenzen herausgefiltert oder der Takt angepasst wurden. Hall- und Pitcheffekte können damit auch erzeugt werden.
3.Versuch: Phasenverschiebung im Wechselstromkreis (Demonstrationsversuch)
Ziel dieses qualitativen Versuches ist es die Bedeutung und Ursache der Phasenverschiebung im Wechselstromkreises zu erschließen. Folgende fachliche Inhalte sollten dabei erarbeitet werden:
- Spulen und Kondensatoren erzeugen eine Phasenverschiebung
- Eine Phasenverschiebung ist eine zeitliche Verzögerung
- Folge aus der Impedanz bzw. periodischen Lade- und Entladevorgängen
Aufbau
Folgende Materialien werden für die Durchführung des Versuches benötigt:
- Leybold 011804.03 - Leistungsfunktionsgenerator
- PHYWE 06515.01 - Spule-35H-1200N
- PHYWE 39113.03 - Kondensator-470µF
- PHYWE 07313.88 - Experimentierkabel
- PHYWE 06150.03 - 2 Glühlämpchen E10 1,5 V / 150 mA
- PHYWE 06170.00 - 2 Lampenfassung E10
- Oszilloskop
- 2 Klinkenstecker 1-polig
- Schalter
- Dekadenwiderstand
So könnte der Aufbau zu Demonstrationszwecken aussehen:
Durchführung
Der Aufbau wird entsprechend der Schaltpläne aufgebaut und die Quellspannung auf 7 V. Die generierte Frequenz soll zum Anfang 50 Hz betragen. Der offene Schalter wird geschlossen und im selben Augenblick beide Glühlampen beobachtet. Die Frequenz kann variiert werden von minds. 20 Hz bis 350 Hz. Vor jeder neuen Einstellung sollte erst der Schalter geöffnet werden und vor dem Schließen ein kurzer Augenblick abgewartet werden, ehe man die Schalter wieder schließt. Bei jedem Schließen des Schaltkreises sollten dann beide Glühlampen beobachtet werden sollen.
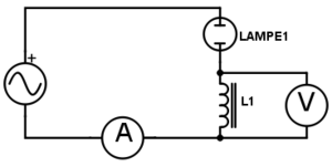
Im zweiten Teil soll mit einem zwei Kanaloszilloskop die Spannung am passiven Bauelement (Spule oder Kondensator) abgegriffen und dargestellt werden. Zusätzlich wird die Spannung am Dekadenwiderstand, welche repräsentativ für den Wert des Stroms (U/R) stehen soll, auch abgegriffen und am Oszilloskop dargestellt werden und mit der Spannung am passiven Bauelement (Spule oder Kondensator) verglichen werden.
Ergebnisse
- An der Spule
Man kann beobachten, dass sich die induktiv belastete Glühlampe relativ zu der unbelasteten Glühlampe mit einer Verzögerung anschaltet. Die Spanne der Verzögerung wird mit steigenden Frequenzen größer. Bei niedrigen Frequenzen schalten sich beide Glühlampen gleich schnell an.
- Am Kondensator
Man kann beobachten, dass sich die kapazitiv belastete Glühlampe relativ zu der unbelasteten Glühlampe mit einer Verzögerung anschaltet. Die Spanne der Verzögerung wird mit kleineren Frequenzen größer. Bei höheren Frequenzen schalten sich beide Glühlampen gleich schnell an.
Am Oszilloskop kann man folgende Darstellungen entnehmen:
Auswertung
- Spule
Aus der Abb.3 kann man entnehmen, dass der Strom gegenüber der Spannung nacheilt. Die Spannung erreicht damit früher sein Maximum, während der Strom das erst nach einer Verzögerung erreicht. Man spricht hier von einer Phasenverschiebung. Diese Erscheinung ist eine direkte Folge aus der Impedanz. Sie bremst nicht nur durch die periodischen Auf- und Entladevorgängen den Stromfluss durch die Spule, sondern verzögert durch Gegeninduktivität (Wicklungsspannung wirkt der Quellspannung entgegen) den Stromfluss zeitlich. Die zeitliche Verzögerung ist ebenso direkt frequenzabhängig wie die Impedanz. Spulen im Wechselstromkreis beziehen des weiteren aus dem Netzwerk einen Leistungsanteil (nicht mehr nutzbar für andere Bauelemente) um das magnetische Feld auf- und abbauen zu können. Anschaulich bedeutet das, dass noch bevor ein Strom fließen kann, muss erst das Magnetfeld der Spule aufgebaut werden. Wie lange dieser periodische Vorgang dauert, wird von der Abklingkonstante der Spule bestimmt und ist abhängig von der Induktivität der Spule. Beobachtbar ist der erste frequenzabhängige Aufladevorgang nur in der ersten Periode. Merksatz: "Induktivitäten verspäten"
- Kondensator
Aus der Abb.4 kann man entnehmen, dass der Strom gegenüber der Spannung vorrauseilt. Der Strom erreicht damit früher sein Maximum, während die Spannung das erst nach einer Verzögerung erreicht. Man spricht hier von einer Phasenverschiebung. Diese Erscheinung ist eine direkte Folge aus der Impedanz. Sie bremst nicht nur durch die periodischen Auf- und Entladevorgängen und dem Ladungsstau auf den Kondensatorplatten den Stromfluss durch den Kondensator, sondern verzögert bei tieferen Frequenzen, aufgrund des längeren Verweilens der Ladungen auf den Kondensatorplatten, den Stromfluss zeitlich. Die zeitliche Verzögerung ist ebenso direkt frequenzabhängig wie die Impedanz. Kondensator im Wechselstromkreis beziehen des weiteren aus dem Netzwerk einen Leistungsanteil (nicht mehr nutzbar für andere Bauelemente) um das elektrische Feld auf- und abbauen zu können. Anschaulich bedeutet das, dass noch bevor die Spannung am Kondensator sein Maximum erreichen kann, muss erst das elektrische Feld des Kondensators aufgebaut werden. Und dieses elektrische Feld kann nur aufgebaut werden, wenn Ladungen auf die Platten des Kondensators fließen. Wie lange dieser periodische Vorgang dauert, wird von der Abklingkonstante des Kondensators bestimmt und ist abhängig von der Kapazität. Beobachtbar ist der erste frequenzabhängige Aufladevorgang nur in der ersten Periode. In unserer Schaltung kann kein Strom "vorraus" fließen, da bei 0-Stellung des Schalters kein Strom fließen kann. Deshalb ist die Beobachtung am Kondensator bezüglich der Reihenfolge, mit der die Glühlampen zu leuchten beginnen, identisch mit der Beobachtung an der Spule. Merksatz: "Beim Kondensator läufts vor"
- Phasenverschiebung: Das besondere an der Phasenverschiebung ist, dass sie nicht von der Frequenz abhängt, wenn im Stromkreis nur ein passives Element vorhanden ist. Die Phasenverschiebung an einer Spule beträgt idealerweise +90°, während die Phasenverschiebung am Kondensator -90° beträgt. Die Phasenverschiebung ist durch die geometrischen Parameter Induktivität und Kapazität variierbar.
Literatur
https://www.berlin.de/imperia/md/content/sen-bildung/unterricht/lehrplaene/sek2_physik.pdf
Siehe auch
Hier können Sie auf andere Artikel im Wiki verweisen, die entweder Ihren Versuch anders darstellen oder thematisch sehr dicht an Ihren Artikel liegen. Fügen Sie dazu einfach einen internen Link ein.
